学生の招待ステータスを確認するには?
学生に招待メールや申請書の入力案内を送信した状況を確認する方法をご案内します。
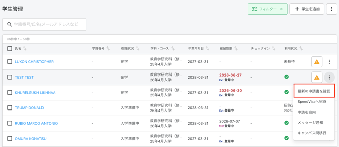
1. 利用状況を確認する
「学生管理」画面の一覧にある「利用状況」列で、学生の招待ステータスを確認できます。
- 未招待:まだ学生に招待メールを送信していない状態です。
- 招待済み:招待メールを送信済みですが、学生がまだ認証を完了していない状態です。
- 下に表示される日付は、招待メールを送信した日付です。招待日から10日を過ぎると、招待メールの認証リンクが無効になります。その場合は、再度招待を送信してください。
- 認証済み:学生が招待メールを開封し、リンクをクリックして認証および初回設定を完了した状態です。
⚠️ 注意:メッセンジャーやアンケートの送信先候補として表示されるのは、「認証済み」の学生のみとなります。「未招待」または「招待済み」の学生は表示されませんので、ご注意ください。
💡 注意:招待ステータスは初回招待のみに適用されます。一度「認証済み」となった場合、以降このステータスは変わりません。

2.申請書の作成状況を確認する
「学生管理」画面の右端にある三点リーダー(縦に並んだ「…」)をクリックして確認できます。
-
「最新の申請書を確認」:
このオプションが表示される場合、該当学生の申請書フォームが作成されています。- このボタンをクリックすると、申請書情報画面に移動し、入力状況を確認できます。
- 申請書が作成されているため、入力依頼メールがすでに送信済みであることがわかります。
-
「新規申請書を作成する」:
このオプションが表示される場合、申請書フォームはまだ作成されていません。そのため、申請書の入力依頼が送信されていない状態です。
【参考1】「最新の申請書を確認」が表示されている場合

【参考2】「新規申請書を作成する」が表示されている場合
